网站首页
学院简介
新闻中心
课程介绍
学生作品
就业剪影
就业服务
创业服务
企业招聘
联系我们
20
20年专注职业技能教育
100
万+
100多万的学员光荣毕业
500
+
500多家合作机构
300
+
300多位优秀导师
学生作品
平面设计
产品设计
室内设计
电子商务
学生室内设计作品展示
室内设计作品集
室内设计学生作品
室内设计2
室内设计
室内设计作品欣赏
学生室内设计作业2
学生室内设计作业
室内设计作品
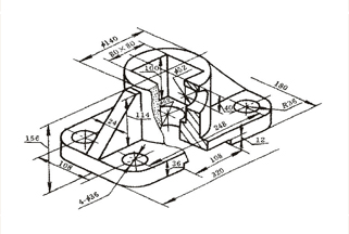
学生产品设计作品展示
产品设计专业学生作品集
产品设计学生作品欣赏
共34条 当前1/3页
首页
前一页
1
2
3
后一页
尾页
在线客服
客服
联系方式
热线电话
0662-2688888
上课时间
周一到周六
学院地址
阳江市西平路125号
二维码
在
线
客
服